Pages

Wednesday, October 9, 2019

Canggih, Honda Siapkan Teknologi HUD di Motor Terbaru Layaknya Mobil Mewah - Semua Halaman - Motor Plus


MOTOR Plus-online.com - Honda dikabarkan sedang menyiapkan teknologi HUD (Head-up Display) di motornya.

Buat yang belum tahu, teknologi HUD awalnya dikembangkan pada jet tempur.

Dan saat ini teknologi HUD sudah banyak digunakan di mobil-mobil mewah.

Memang kalau dipikir, HUD dapat memudahkan pengendara motor untuk melihat kecepatan tanpa harus menunduk untuk melihat panel speedometer.

Baca Juga: Terinspirasi dari Film Robot, Tampilan Honda Vario 125 Langsung Berubah Total

Baca Juga: Kontrak Seumur Hidup, Bos Honda Ungkap Gak Bakal Lepaskan Marc Marquez di MotoGP

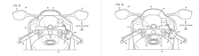
Mengutip dari Rideapart, Honda baru mengeluarkan sebuah paten di awal Oktober 2019.

Paten tersebut menunjukkan berbagai motor Honda memakai HUD yang terpasang dalam bermacam-macam posisi, tergantung motornya.

Di antaranya adalah pada Honda CRF1000L Africa Twin dan Honda CBR500R.

Pada Honda CRF1000L Africa Twin, terlihat adanya proyektor yang terpasang di dekat panel speedometer, dan memproyeksikan gambar di windshield motor.

Baca Juga: Tips Ganti Setang Fatbar di Skutik Honda ADV150, Cuma Bongkar Bagian Ini

HUD terpasang dalam berbagai posisi

Rideapart.com

HUD terpasang dalam berbagai posisi

Sementara pada Honda CBR500R, proyektor terpasang di tangki motor dan memproyeksikan gambar ke windshield.

Lalu ada juga versi CBR500R yang proyektornya terpasang di windshield, lalu memproyeksikan gambarnya ke atas tangki.

HUD di motor Honda ini diduga akan menunjukkan berbagai informasi seperti kecepatan dan sisa bensin di tangki.

Tidak hanya itu, HUD juga bisa digunakan untuk menunjukkan tiap belokan saat sedang menggunakan navigasi.

Baca Juga: Ini Alasan All New Honda PCX Inden Mengular Sampai 2 Bulanan

Yang lebih canggihnya lagi, pengendara akan dapat berinteraksi dengan HUD.

Karena Honda akan menggunakan teknologi khusus, sehingga HUD bisa berfungsi seperti touchpad saat gambar diproyeksikan ke windshield.

Canggih banget kan bro, kira-kira kapan ya bakalan muncul?

Let's block ads! (Why?)

Baca Lagi kalo ga lengkap berita nya https://www.motorplus-online.com/read/251879215/canggih-honda-siapkan-teknologi-hud-di-motor-terbaru-layaknya-mobil-mewah?page=all

No comments:

Post a Comment